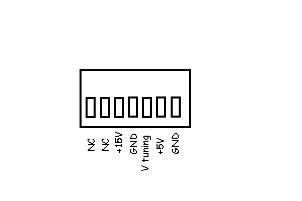
4800/2400 MHz MODULATOR
This is a FM modulator , The VCO is divided by 64 for synthesis control.
Originaly the module give a carrier on 2 times the VCO frequency (+-4800 MHz).
It's possible to use it on 13cm by removing the doubler or by cutting the input and output PCB tracks of the doubler and placing a bridge in coaxial cable.
The output of the module is gived through an attenuator of 6dB. You can remove this one and replace it by a little wire.


